Membrane Safety Valve
Fixed calibration
ALSO AVAILABLE ON REQUEST CALIBRATIONS: 3,0 - 3,5 - 4 - 6 BAR
COMPLIANT WITH PED DIRECTIVE 2014/68/UE WITH IDENTIFICATION NUMBER CE0425
| sku | model | price | info | add to cart | |
|---|---|---|---|---|---|
|
|
00000070152 |
MEMBRABE SAFETY VALVE - FF IN Ø 1/2" - OUT 3/4" |
€107,45 Excl. Taxes |
Physical data UM Base: Dimension: Volume: Weight: Minimum Order Quantity: Customs data Customs Code |
Info Request |
|
|
00000070153 |
MEMBRABE SAFETY VALVE - FF IN Ø 3/4" - OUT 1" |
€159,15 Excl. Taxes |
Physical data UM Base: Dimension: Volume: Weight: Minimum Order Quantity: Customs data Customs Code |
Info Request |
|
|
00000070154 |
MEMBRABE SAFETY VALVE - FF IN Ø 1" - OUT 1" 1/4 |
€319,45 Excl. Taxes |
Physical data UM Base: Dimension: Volume: Weight: Minimum Order Quantity: Customs data Customs Code |
Info Request |
Product informations
Safety valve with INAIL qualified and calibrated diaphragm, which automatically, without the presence of energy other than that of the pressurized fluid, discharges a sufficient amount of fluid to prevent the predetermined safety pressure from being exceeded to protect the heat generator and the system. This valve is used in closed circuit heating systems with a rated output of more than 35 kW and using hot water with a temperature below 110°C; causes of valve tripping can be:
- elevation of the operating fluid temperature above the preset maximum value resulting in uncompensated expansion
- insufficient dimensioning of the expansion tank
- excessive circuit filling pressure
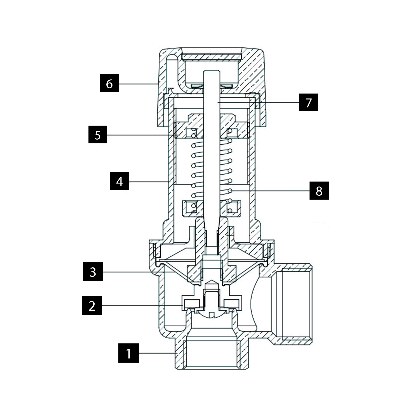
| VALVE STRUCTURE | |
|---|---|
| 1 | valve body |
| 2 | shutter |
| 3 | membrane |
| 4 | cap |
| 5 | calibration nut |
| 6 | manual exhaust knob |
| 7 | shutter beam |
| 8 | hairspring |
Technical Features
| PRESSURE RATING | PN10 |
|---|---|
| OVERPRESSURE | 10% |
| CALIBRATION PRESSURE | 2,5 bar |
| CLOSING SCRAP | < 20% |
| MAX OPERATING TEMPERATURE | - 10°C ÷ + 120°C |
| MATERIALS |
|
| SKU | CONNECTION | BAR PRESSURE | ORIFICE DIAMETER | COEFFICIENT OF EFFLUX | DISCHARGE FLOW RATE | RATED POWER OF THE GENERATOR | |||
|---|---|---|---|---|---|---|---|---|---|
| Setting | Max discharge | Closing min | Kcal/h | kW | |||||
| 70152 | 1/2" x 3/4" FF with increased output | 2,5 | 2,75 | 2 | Ø 15 mm | 0,71 K | 221,40 Kg/h | 110.703 | 128,41 |
| 70153 | 3/4" x 1" FF with increased output | 2,5 | 2,75 | 2 | Ø 20 mm | 0,80 K | 443,52 Kg/h | 221.760 | 257,24 |
| 70154 | 1" x 1" 1/4 FF with increased output | 2,5 | 2,75 | 2 | Ø 25 mm | 0,71 K | 615,03 Kg/h | 307.515 | 356,71 |
| SKU | DN | W | H | A |
|---|---|---|---|---|
| 70152 | 1/2" x 3/4" FF | 37 mm | 119 mm | 24 mm |
| 70153 | 3/4" x 1" FF | 48 mm | 165 mm | 29 mm |
| 70154 | 1" x 1" 1/4 FF | 54 mm | 190 mm | 34,5 mm |












